RTU02作為Modbus網關 應用介紹
RTU02有RS485輸出接口,可配置為Modbus主機,讀寫眾多Modbus設備,實現數據采集,輸出控制,報警觸發的照明控制需求。且可以根據項目需求,自由裁剪,靈活配置。目前主要支持的Modbus設備有:智能三相電表,光照度傳感器,多支路電流采集模塊,開關量模塊,車流量檢測攝像頭。




在云平臺對應的功能區如下:

兩路開關對應界面:

開關量采集模塊對應界面:

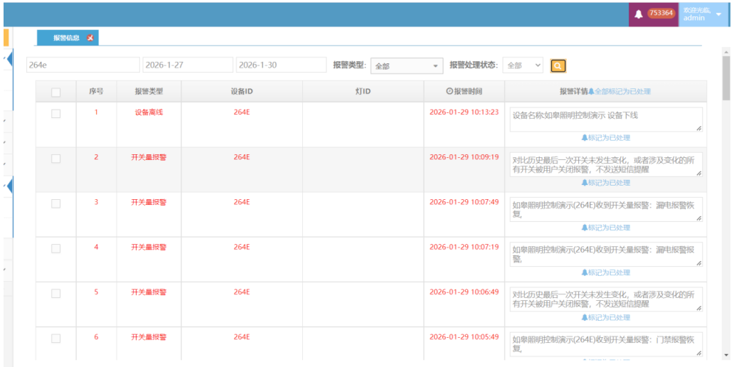
每一路可配置為獨立報警源:

報警頁面展示:

手機短信界面展示:

燦陽照明控制系統獨特設計:
多設備共享一臺照度計,實現一個城市照明開關同時動作
